| Поз. | Обозначение | Наименование | Кол-во |
| 1 | 71-44-1 | Корпус | 1 |
| 2 | 74-44-3 | Корпус | 1 |
| 3 | М10-6gх25.58.019 | Болт | 16 |
| 4 | 10 ОТ 65Г 09 | Шайба | 112 |
| 5 | 3262 | Штифт | 4 |
| 6 | 700-40-8596 | Прокладка | 2 |
| 7 | 700-28-2578 | Болт | 24 |
| 8 | 24 ОТ 65Г 09 | Шайба | 24 |
| 9 | 71-44-2 | Крышка | 1 |
| 10 | 71-44-4 | Крышка | 1 |
| 11 | М10-6gх30.58.019 | Болт | 44 |
| 12 | М10x35.58.019 | Болт | 20 |
| Поз. | Обозначение | Наименование | Кол-во |
| 1 | 71-44-120СП | Рычаг | 2 |
| 2 | 71-44-52 | Палец | 2 |
| 3 | Шайба стопорная 31317 | 4 | |
| 4 | КО 1.6 | Проволока | 0,5м |
| 5 | 28447 | Болт | 4 |
| 6 | 71-44-130-01 | Полумуфта | 1 |
| 7 | 62-14-59 | Пластина | 3 |
| 8 | В.М8х16.14Н | Винт | 4 |
| 9 | 700-30-2264 | Гайка | 3 |
| 10 | 71-44-129 | Втулка | 2 |
| 11 | 700-35-542 | Винт | 2 |
| 12 | 700-30-2412 | Гайка | 2 |
| 13 | 71-44-126 | Втулка | 2 |
| 14 | 28-16-11-01 | Корпус подшипника | 2 |
| 15 | 71-44-41 | Кольцо | 2 |
| 16 | Кольцо пружинное 700-58-2003 | 2 | |
| 17 | 700-40-2940 | Кольцо | 2 |
| 18 | 71-44-97 | Диск нажимной | 2 |
| 19 | 71-44-49 | Кольцо | 3 |
| 20 | 71-44-127 | Барабан ведущий | 2 |
| 21 | Диск 71-44-124СП | 6 | |
| 22 | Диск 71-44-34 | 4 | |
| 23 | 71-44-70 | Барабан | 1 |
| 24 | М10х55.58.019 | Болт | 16 |
| 25 | 10 ОТ 65Г 09 | Шайба | 56 |
| 26 | 71-44-94 | Кольцо | 2 |
| 27 | 71-44-21 | Крышка | 1 |
| 28 | 700-40-8593 | Прокладка | 1 |
| 29 | 2.1-100x125-4 | Манжета | 2 |
| 30 | 221 | Подшипник | 1 |
| 31 | 71-44-58 | Колесо зубчатое | 1 |
| 32 | 71-44-38 | Кольцо | 1 |
| 33 | 71-44-59 | Колесо зубчатое | 1 |
| 34 | 71-44-128 | Вал ведущий | 1 |
| 35 | 303-12 | Кольцо | 1 |
| 36 | 71-44-134 | Прокладка регулировочная | 3 |
| 37 | 71-44-134-01 | Прокладка регулировочная | 5 |
| 38 | 71-44-134-02 | Прокладка регулировочная | 3 |
| 39 | 71-4-139 | Крышка | 1 |
| 40 | М8-6gх25.88.35.019 | Болт | 18 |
| 41 | 8Т 65Г 09 | Шайба | 18 |
| 42 | Лента тормозная 71-44-148СП | 1 | |
| 43 | 71-44-69 | Барабан | 1 |
| 44 | 71-44-150 | Кольцо | 2 |
| 45 | 1000911 | Подшипник | 2 |
| 46 | 71-44-92 | Корпус | 2 |
| 47 | 2.1-50x70-1 | Манжета | 2 |
| 48 | 71-44-108СП | Диск нажимной | 1 |
| 49 | 71-44-100 | Полумуфта | 1 |
| 50 | 700-58-2102 | Кольцо | 1 |
| 51 | 71-44-23 | Крышка | 1 |
| 52 | 700-40-8594 | Прокладка | 2 |
| 53 | 71-44-8 | Колесо зубчатое | 1 |
| 54 | 120 | Подшипник | 4 |
| 55 | 71-44-13 | Вал | 1 |
| 56 | 71-44-7 | Колесо зубчатое | 1 |
| 57 | 71-44-35 | Втулка | 2 |
| 58 | Подшипник 308 | 2 | |
| 59 | 71-44-109СП | Крышка | 1 |
| 60 | 700-40-3123 | Кольцо | 2 |
| 61 | 71-44-107СП | Диск нажимной | 1 |
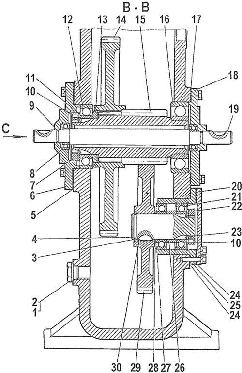
| Поз. | Обозначение | Наименование | Кол-во |
| 1 | 700-37-2154 | Пробка | 6 |
| 2 | 27x35 | Кольцо | 6 |
| 3 | 71-44-49 | Кольцо | 2 |
| 4 | 71-44-50 | Вал | 2 |
| 5 | 700-40-8597 | Прокладка | 2 |
| 6 | 71-44-25; 71-44-27 | Крышка | 2 |
| 7 | 700-30-2401 | Гайка | 2 |
| 8 | 205 | Подшипник | 4 |
| 9 | 20-25-30-2-2 | Кольцо | 4 |
| 10 | В.М8х16.14Н | Винт | 8 |
| 11 | 71-44-44 | Пластина | 6 |
| 12 | 214 | Подшипник | 2 |
| 13 | 71-44-36 | Кольцо | 2 |
| 14 | 71-44-99 | Кольцо зубчатое | 2 |
| 15 | 71-44-98 | Шестерня | 2 |
| 16 | 313 | Подшипник | 2 |
| 17 | 700-40-8595 | Прокладка | 2 |
| 18 | 71-44-26 | Крышка | 1 |
| 18 | 71-44-24 | Крышка | 1 |
| 19 | 71-44-31 | Валик | 2 |
| 20 | 71-44-28 | Крышка | 2 |
| 21 | 700-58-2563 | Кольцо | 4 |
| 22 | 700-30-2264 | Гайка | 6 |
| 23 | 62-14-59 | Пластина | 6 |
| 24 | 700-40-8599 | Прокладка | 4 |
| 25 | 71-44-29 | Корпус | 2 |
| 26 | 71-44-30 | Втулка | 2 |
| 27 | 210AK | Подшипник | 4 |
| 28 | 71-44-32 | Втулка | 2 |
| 29 | 71-44-12 | Колесо зубчатое | 2 |
| 30 | 700-34-2051 | Шпонка сегментная | 2 |

| Поз. | Обозначение | Наименование | Кол-во |
| 1 | 71-44-116СП | Упор | 1 1 |
| 2 | М10-6gх25.58.019 | Болт | 16 |
| 3 | 10 ОТ 65Г 09 | Шайба | 112 |
| 4 | М10x30.58.019 | Болт | 44 |
| 5 | ВМ10-6gх22.58.019 | Винт | 2 |
| 6 | 18-26-286СП | Сапун | 2 |
| 7 | 700-40-2631-01 | Прокладка | 2 |
| 8 | 71-44-144СП | Упор | 1 |
| 9 | 71-44-51 | Палец | 4 |
| 10 | Шайба 31543 | 4 | |
| 11 | 700-37-2283 | Пробка | 4 |
| 12 | 1.3Ц6 | Масленка | 4 |