Запасные части ЧТЗ Запасные части ЧТЗ
Сургут
Например:
Актобе
Алдан
или
Выбрать автоматически
Актобе
Алдан
Алматы
Алчевск
Архангельск
Астана
Астрахань
Атырау
Баку
Балашиха
Барнаул
Белгород
Бердянск
Бишкек
Владивосток
Владикавказ
Воркута
Воронеж
Горловка
Грозный
Донецк
Екатеринбург
Иваново
Ижевск
Иркутск
Казань
Калининград
Каменск-Уральский
Караганда
Каховка
Кемерово
Киров
Комсомольск-на-Амуре
Костанай
Краснодар
Красноярск
Красный луч
Ленск
Луганск
Магадан
Магнитогорск
Макеевка
Махачкала
Мелитополь
Минск
Мирный (Якутия)
Москва
Мурманск
Нерюнгри
Нижневартовск
Нижний Новгород
Нижний Тагил
Новая каховка
Новокузнецк
Новосибирск
Новый Уренгой
Норильск
Ноябрьск
Нур-Султан
Омск
Оренбург
Ош
Павлодар
Пермь
Петрозаводск
Петропавловск
Петропавловск-Камчатский
Псков
Ростов-на-Дону
Салехард
Самара
Санкт-Петербург
Саратов
Севастополь
Семей
Симферополь
Сочи
Ставрополь
Сургут
Сыктывкар
Тараз
Ташкент
Токмак
Томск
Тында
Тюмень
Ульяновск
Усинск
Усть-Каменогорск
Уфа
Хабаровск
Ханты-Мансийск
Херсон
Челябинск
Чита
Шымкент
Экибастуз
Энергодар
Южно-Сахалинск
Якутск
Ваш город
Сургут
Войти
Запасные части к тракторам на одном сайте
+7 (932) 303-00-10
+7 (932) 303-00-10
г. Сургут, ул. Сосновая, д. 12
Пн-Пт: 9:30-18:30 Cб-Вс: Выходной
Отправить заявку


Таблица смазки ЧТЗ


/
с НДС 20%
Описание
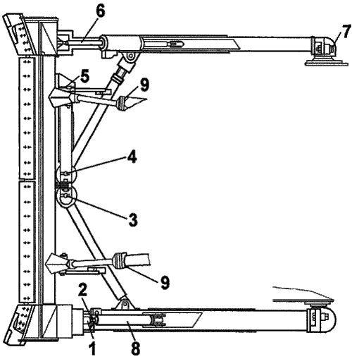
Карта смазки оборудования бульдозерного моделей Е и В
Рис. 10 Карта смазки оборудования бульдозерного моделей Е и В

Карта смазки оборудования бульдозерного моделей Е и В
Поз. Точка смазки Смаз. мат-лы Кол-во точек смазки Расход смазочного мат-ла Периодичность дозаправки и замены смазки, моточас
1 втулки проушин бруса и отвала Смазка Литол-24 4 30 При ремонте
8 винтовой раскос 2 До выхода смазки 250
Шарнирные подшипники:
6 гидрораскоса 1 40 250
3 тяги 1 40 250
5 балки 1 40 250
4 подкоса 1 40 250
2 винтового раскоса 1 40 250
7 шаровая опора бруса 2 60 1000
9 шаровые опоры гидроцилиндров 2 36 250


Карта смазки оборудования бульдозерного модели Д
Рис. 11 Карта смазки оборудования бульдозерного модели Д

Карта смазки оборудования бульдозерного модели Д
Поз. Точка смазки Смаз. мат-лы Кол-во точек смазки Расход смазочного мат-ла Периодичность дозаправки и замены смазки, моточас
2 винтовой раскос Смазка Литол-24 4 40 250
3 шаровая опора рамы 2 60 При ремонте
1 шаровые соединения 2 20 1000
- шаровые опоры гидроцилиндров 2 36 250
Таблица смазки