Запасные части ЧТЗ Запасные части ЧТЗ
Сургут
Например:
Актобе
Алдан
или
Выбрать автоматически
Актобе
Алдан
Алматы
Алчевск
Архангельск
Астана
Астрахань
Атырау
Баку
Балашиха
Барнаул
Белгород
Бердянск
Бишкек
Владивосток
Владикавказ
Воркута
Воронеж
Горловка
Грозный
Донецк
Екатеринбург
Иваново
Ижевск
Иркутск
Казань
Калининград
Каменск-Уральский
Караганда
Каховка
Кемерово
Киров
Комсомольск-на-Амуре
Костанай
Краснодар
Красноярск
Красный луч
Ленск
Луганск
Магадан
Магнитогорск
Макеевка
Махачкала
Мелитополь
Минск
Мирный (Якутия)
Москва
Мурманск
Нерюнгри
Нижневартовск
Нижний Новгород
Нижний Тагил
Новая каховка
Новокузнецк
Новосибирск
Новый Уренгой
Норильск
Ноябрьск
Нур-Султан
Омск
Оренбург
Ош
Павлодар
Пермь
Петрозаводск
Петропавловск
Петропавловск-Камчатский
Псков
Ростов-на-Дону
Салехард
Самара
Санкт-Петербург
Саратов
Севастополь
Семей
Симферополь
Сочи
Ставрополь
Сургут
Сыктывкар
Тараз
Ташкент
Токмак
Томск
Тында
Тюмень
Ульяновск
Усинск
Усть-Каменогорск
Уфа
Хабаровск
Ханты-Мансийск
Херсон
Челябинск
Чита
Шымкент
Экибастуз
Энергодар
Южно-Сахалинск
Якутск
Ваш город
Сургут
Войти
Запасные части к тракторам на одном сайте
+7 (932) 303-00-10
+7 (932) 303-00-10
г. Сургут, ул. Сосновая, д. 12
Пн-Пт: 9:30-18:30 Cб-Вс: Выходной
Отправить заявку


Маховик Т-170 Б-170 трактора в Сургуте


/
с НДС 20%
Описание

Снятие и разборка маховика Т-170

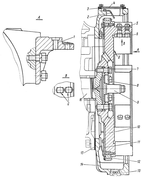
Маховик и кожух маховика
Рис. 61. Маховик и кожух маховика

Снятие

Маховик можно снять, не снимая дизель с трактора, предварительно удалив муфту сцепления. Снимите муфту сцепления, крышку 4 (рис. 61) люка и указатель 2, отвернув болты, крепящие их к кожуху 14 маховика.

Приспособление для подъема маховика
Рис. 62. Приспособление для подъема маховика

Зацепите маховик 10 подъемным приспособлением (рис. 62). Разогните усики замковых пластин 8 (см. рис. 61) и отверните, болты 7 крепления маховика к коленчатому валу 16 дизеля. Отсоедините маховик от фланца коленчатого вала, отведите назад и снимите с трактора. Масса маховика 126 кг. Выньте из маховика цапфу 9. Перед снятием нанесите метки на маховике, цапфе и фланце коленчатого вала. При последующей сборке установите эти детали в прежнее положение.

Разборка

Разогните усики замковых пластин 11 у болтов, крепящих зубчатый венец 12 к ободу маховика 10, и отверните болты. Установите маховик на подставку и спрессуйте зубчатый венец. Удалите венец равномерными ударами медного молотка по всей окружности.

При необходимости замены расконтрите замковые пластины 5 у гаек крепления сухариков, отверните гайки и выбейте сухарики 6.

Технические требования

  1. Посадка венца на маховике с натягом 0,16 ... 0,35 мм. Средняя длина общей нормали зубьев венца 228,69-0,483 мм; предельная средняя длина общей нормали при износе двух сторон зуба 227,30 мм.

  2. При износе одной стороны зубьев венца маховика допускается венец перевернуть и напрессовать другим торцом к бурту маховика.

Сборка и установка маховика Т-170

Сборка маховика

Нагрейте венец 12 (см. рис. 61) маховика до 373 К (100 °С) и, не давая венцу остыть, посадите его на маховик 10, сместив при посадке отверстия маховика относительно отверстий венца на величину не менее одного диаметра отверстия. Просверлите в ободе маховика через отверстия венца десять новых отверстий на глубину не более 53 мм, нарежьте на них резьбу МШ-6Н глубиной не менее 45 мм.

Для крепления венца используйте старые резьбовые отверстия в маховике. В этом случае перед посадкой венца вверните в маховик направляющую шпильку с наружным диаметром 10 мм, обеспечивающую при сборке совпадение отверстий венца и маховика.

Закрепите венец на маховике десятью болтами с пятью замковыми пластинами 11. Для плотного прилегания венца к боковой поверхности маховика допускается при затяжке болтов обстукивать венец медным молотком. Допустимый зазор между боковой поверхностью венца и маховиком не более 0,08 мм. Отогните концы замковых пластин на грани головок болтов после их затяжки.

Установите в отверстия маховика сухарики 6, наденьте замковые пластины 5 и закрепите сухарики гайками. Неперпендикулярность поверхностей С сухариков относительно поверхности маховика не более 0,1 мм на длине 20 мм. Отогните концы замковых пластин на грани гаек после их затяжки.

Установка маховика

Установите в выточку маховика цапфу 9. Заведите маховик 10 с цапфой 9 в кожух 14 с помощью подъемного приспособления и установите, их на фланец коленчатого вала 16. Совместите отверстия маховика и цапфы с резьбовыми отверстиями во фланце коленчатого вала и закрепите маховик на фланце шестью болтами 7 с тремя замковыми пластинами 8. Затяните болты крепления маховика, момент 245... 325 Н.м (25 ... 33 кгс.м), и отогните концы замковых пластин на грани головок болтов. При установке маховика пользуйтесь направляющей шпилькой, ввернутой в резьбовое отверстие фланца коленчатого вала.

При установке маховика метки, сделанные на маховике, цапфе и фланце коленчатого вала при разборке, должны быть совмещены. Если же при снятии маховика метки сделаны не были, то маховик должен быть установлен на фланце коленчатого вала так, чтобы при положении поршня первого цилиндра в в.м.т. метка на наружной цилиндрической поверхности маховика «ВМТ 1-4Ц» совпадала с острием указателя 2, укрепленного на кожухе маховика.

В случае, когда дизель установлен на тракторе, метка «ВМТ 1-4Ц» на торце маховика должна совпадать со стрелкой на кожухе муфты сцепления. Проверьте радиальное и торцовое биения маховика, которые должны быть не более 0,3 мм.

Приводная шестерня вала редуктора пускового двигателя при включении и выключении должна легко передвигаться вдоль зубьев венца маховика. Боковой зазор между зубьями венца маховика и. приводной шестерни допускается в пределах 0,2... 1,0 мм. После сборки и установки маховика окончательно закрепите указатель 2, установите крышку 4 с прокладкой 3 и закрепите болтами.


Маховик