Запасные части ЧТЗ Запасные части ЧТЗ
Сургут
Например:
Актобе
Алдан
или
Выбрать автоматически
Актобе
Алдан
Алматы
Алчевск
Архангельск
Астана
Астрахань
Атырау
Баку
Балашиха
Барнаул
Белгород
Бердянск
Бишкек
Владивосток
Владикавказ
Воркута
Воронеж
Горловка
Грозный
Донецк
Екатеринбург
Иваново
Ижевск
Иркутск
Казань
Калининград
Каменск-Уральский
Караганда
Каховка
Кемерово
Киров
Комсомольск-на-Амуре
Костанай
Краснодар
Красноярск
Красный луч
Ленск
Луганск
Магадан
Магнитогорск
Макеевка
Махачкала
Мелитополь
Минск
Мирный (Якутия)
Москва
Мурманск
Нерюнгри
Нижневартовск
Нижний Новгород
Нижний Тагил
Новая каховка
Новокузнецк
Новосибирск
Новый Уренгой
Норильск
Ноябрьск
Нур-Султан
Омск
Оренбург
Ош
Павлодар
Пермь
Петрозаводск
Петропавловск
Петропавловск-Камчатский
Псков
Ростов-на-Дону
Салехард
Самара
Санкт-Петербург
Саратов
Севастополь
Семей
Симферополь
Сочи
Ставрополь
Сургут
Сыктывкар
Тараз
Ташкент
Токмак
Томск
Тында
Тюмень
Ульяновск
Усинск
Усть-Каменогорск
Уфа
Хабаровск
Ханты-Мансийск
Херсон
Челябинск
Чита
Шымкент
Экибастуз
Энергодар
Южно-Сахалинск
Якутск
Ваш город
Сургут
Войти
Запасные части к тракторам на одном сайте
+7 (932) 303-00-10
+7 (932) 303-00-10
г. Сургут, ул. Сосновая, д. 12
Пн-Пт: 9:30-18:30 Cб-Вс: Выходной
Отправить заявку


Привод насоса НШ-100А-3Л Т-170 Б-170 трактора в Сургуте


/
с НДС 20%
Описание

Снятие и сборка привода насоса НШ-100А-3Л

Установка привода насоса НШ 100А-3Л
Рис. 17. Установка привода насоса НШ 100А-3Л

Снятие привода насоса

Закройте кран подвода масла к насосу НШ 100А-3Л на левом гидробаке и снимите насос 4 (рис. 17).

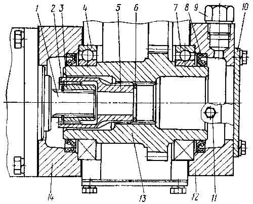
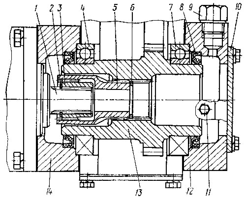
Привод насоса НШ 100А-3Л
Рис. 18. Привод насоса НШ 100А-3Л

Отверните четыре гайки 3 крепления переднего фланца 14 (рис. 18) и Снимите его со шпилек корпуса шестерен распределения. Выньте из полости вала 13 промежуточную муфту 5 вместе с муфтой 3. Отверните четыре гайки крепления заднего фланца 12 и снимите его со шпилек.

Легкими ударами медного молотка через оправку по торцу вала выпрессуйте вал 13 в сторону заднего фланца до выхода подшипника 7 из отверстия кожуха. Спрессуйте съемником подшипник 7 с вала, не вынимая вал из кожуха. Выпрессуйте вал с подшипником 4 в сторону переднего фланца, введя в зацепление зубья вала и шестерни распре-деления. Спрессуйте подшипник 4 с вала.

При необходимости выпрессуйте из фланцев манжеты 8, выверните сапун 9 и пробку 11, снимите крышку 10.

Сборка привода насоса

Запрессуйте манжеты 8 в передний и задний фланцы до упора в бурт. Рабочие кромки манжеты должны быть обращены внутрь фланцев. Установите крышку 10 с прокладкой, сапун 9, пробку 11.

Напрессуйте подшипник 7 на вал. Установите кольцо 6 в канавку вала.

Технические требования на детали привода насоса

  1. Диаметр вала под подшипник — 90+0.025мм. Допустимый диаметр вала —89,99 мм. Натяг между валом и подшипником — 0,003... 0,045 мм, допустимый зазор — 0,01 мм.

  2. Средняя длина общей нормали зубьев вала— 40,962-0.080мм. Допустимый размер 40,08 мм.

Установка привода насоса НШ-100А-3Л

Введите вал 13 (см. рис. 18) в сборе с подшипником 7 в расточку кожуха шестерен распределения со стороны заднего фланца, при этом зубчатый венец вала должен войти в зацепление с шестерней распределения. Установите на шпильки кожуха шестерен распределения уплотнительную прокладку, затем задний фланец 12 в сборе с манжетой и закрепите его гайками с пружинными шайбами.

Напрессуйте с помощью оправки со стороны переднего фланца на приводной вал шарикоподшипник 4. Установите передний фланец 14 в сборе с манжетой и уплотнительную прокладку на шпильки кожуха и закрепите гайками с пружинными шайбами.

Установите в отверстие вала промежуточную муфту 5 до упора в кольцо 6. Наденьте на вал 1 насоса пружинное кольцо 2 и муфту 3. Установите насос с уплотнительной прокладкой на передний фланец 14, введя в зацепление шлицы муфт 3 и 5. Закрепите насос 4 (см. рис. 17) четырьмя болтами с пружинными шайбами. Проверьте вращение насоса через его верхнее отверстие, вращая коленчатый вал дизеля.

Выверните сапун 1 и пробку 2 контрольного отверстия и залейте в отверстие под сапун моторное масло в количестве 0,4 л до уровня контрольного отверстия, закрываемого пробкой 11 (см. рис. 18). Вверните сапун и пробку. Присоедините к насосу трубы и откройте кран подвода масла на левом гидробаке.

Привод насоса НШ 100А-3Л со штифтовой фиксацией муфты
Рис. 19. Привод насоса НШ 100А-3Л со штифтовой фиксацией муфты

В конструкции привода насоса НШ 100А-3Л на тракторах более позднего выпуска введен привод с одной муфтой 5 (рис. 19), фиксируемой штифтом 1, ограничивающим продольное перемещение муфты во внутренних шлицах вала 3. Введенные детали: вал 3, муфта 2, штифт 1 могут устанавливаться комплектно вместо вала 13 (см. рис. 18), муфт 3 и 5, колец 2 и 6 на тракторах ранних выпусков.

Привод насоса НШ-100А-3Л